

Hot waxes applied by automatic car washers have been known to affect the wiper's ability to clean windows.
An operation malfunction may occur or the wiper effectiveness may be reduced if a water-repellent coating is used.
To prevent damage to the wiper blades, do not use gasoline, kerosene, paint thinner, or other solvents on or near them.
When the wiper lever is in the AUTO position and the vehicle power is switched ON, the wipers may move automatically in the following cases:
If the windshield above the rain sensor is touched.
If the windshield above the rain sensor is wiped with a cloth.
If the windshield is struck with a hand or other object.
If the rain sensor is struck with a hand or other object from inside the vehicle.
Be careful not to pinch hands or fingers as it may cause injury, or damage the wipers. When washing or servicing the vehicle, make sure the wiper lever is in the OFF position.
Before lifting the windshield wiper blades off the windshield, always follow the procedure for moving the windshield wiper blades. Otherwise, a wiper blade, wiper arm, or the hood could be damaged.
Contamination of either the windshield or the blades with foreign matter can reduce wiper effectiveness. Common sources are insects, tree sap, and hot wax treatments used by some commercial car washes.
If the blades are not wiping properly, clean the window and blades with a good cleaner or mild detergent; then rinse thoroughly with clean water. Repeat if necessary.
You can replace the wiper blades yourself, however you cannot replace the wiper arms.
If you want to replace the wiper arms, consult an Authorized Mazda Dealer.
Replacing Front Windshield Wiper Blade rubbers
Move the wipers to the service positions using the following procedure.
Switch the vehicle power ON.
Switch the vehicle power OFF.
Press up the wiper switch to the MIST position 2 times within 30 seconds after switching the vehicle power OFF.
When the procedure is completed, the wipers operate and they stop at the service positions.
Raise the wiper arms.
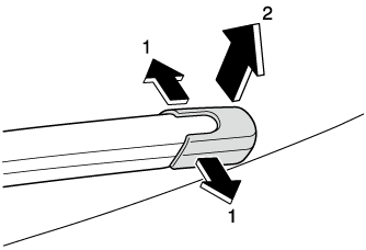
Slide the blade component in the direction of the arrow while pressing the wiper arm tab to remove the blade component from the wiper arm.

Pull out the end of the blade rubber from the notch at the end of the blade.

Remove the blade rubber by pulling it out as it is or by peeling it off toward the opposite side.

Insert a new blade rubber through the notch at the end of the blade.
When inserting the blade rubber, do not grip the blade body tightly.

When all of the blade rubber is inserted, adjust the position.

Make sure that the blade rubber is correctly installed to the blade holder.
Slowly lower the wiper arms onto the windshield.
To prevent damage to the windshield let the wiper arm down easily, do not let it slap down on the windshield.
Move the wipers to their initial positions using the following procedure.
Make sure that the wipers are set on the windshield.
Switch the vehicle power ON.
Press up the wiper switch to the MIST position 2 times.
Replacing Rear Window Wiper Blade rubber
To prevent damage to the wiper arm and other components, do not move the wiper by hand.
Remove the cover.

Remove the stopper.

Raise the wiper arm and rotate the wiper blade to the right until it unlocks, then remove the blade.

To prevent damage to the rear window, do not let the wiper arm fall on it.
Remove the metal stiffeners from the blade rubber and install them in the new blade rubber.
Install the blade assembly in the reverse order of removal.

Page top