

Charge cable
The charge cable is connected to the electrical outlet and the vehicle to send electrical power to the vehicle. For details regarding the charge cable, refer to the instruction manual accompanying the charge cable.

1 Charge connector
2 Control box
3 Charge plug
Charge connector
The charge connector is the part used for connecting to the charging port on the vehicle side.
When the charge connector is connected to the charging port, a vehicle system locks the charge connector.
When the charge connector is locked by the vehicle system, it unlocks when the driver's door is unlocked.
If the charge connector locked by the vehicle system is not unlocked even though the driver's door is unlocked, consult an Authorized Mazda Dealer.
The conditions for locking the vehicle system can be changed.
Refer to Convenient Ways to Use of Charging on page Reference (Search).
Control box
The control box indicates the charge status by turning on/flashing the indicator light.
For the indicator light illumination/flash pattern, refer to the instruction manual accompanying the charge cable.
Charge plug
The charge plug is the part for connecting to the electrical outlet.
Storage of charge cable
In general, keep the charge cable at home.
If the charge cable is kept in the vehicle, store it in the cargo sub compartment.
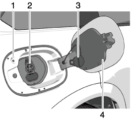
Charge port

1 Charging indicator
2 Charge port
3 Charging port cap
4 Charging port lid
Charging indicator
The charging indicator indicates the charging status by turning on/flashing the light.
Refer to How to Perform Charging on page Reference (Search).
Charging port lid
The charging port lid is locked/unlocked in conjunction with the door locking/unlocking mechanism.
When unlocking the driver's door, the charging port lid is unlocked. When locking the driver's door, the charging port lid is locked.
However, if the driver's door is unlocked using the auxiliary key, the charging port lid is not unlocked.
When the driver's door is locked using any of the following functions, the charging port lid is also locked at the same time.
Vehicle speed sensing auto door lock function
Auto re-lock function
Charge port
The charge port is the part used for connecting to the charge connector of the charge cable. It is used for charging.

Page top